Der futuristische Pickup, der vor kurzer Zeit von Elon Musk präsentiert wurde, erinnert eher an etwas aus einem Science-Fiction-Film als an ein gewöhnliches Fahrzeug. Aber genau das ist es, was Tesla will. Jetzt wurde ein neues Patent von Tesla für ein Reinigungssystem für Windschutzscheiben und Solardächer entdeckt.
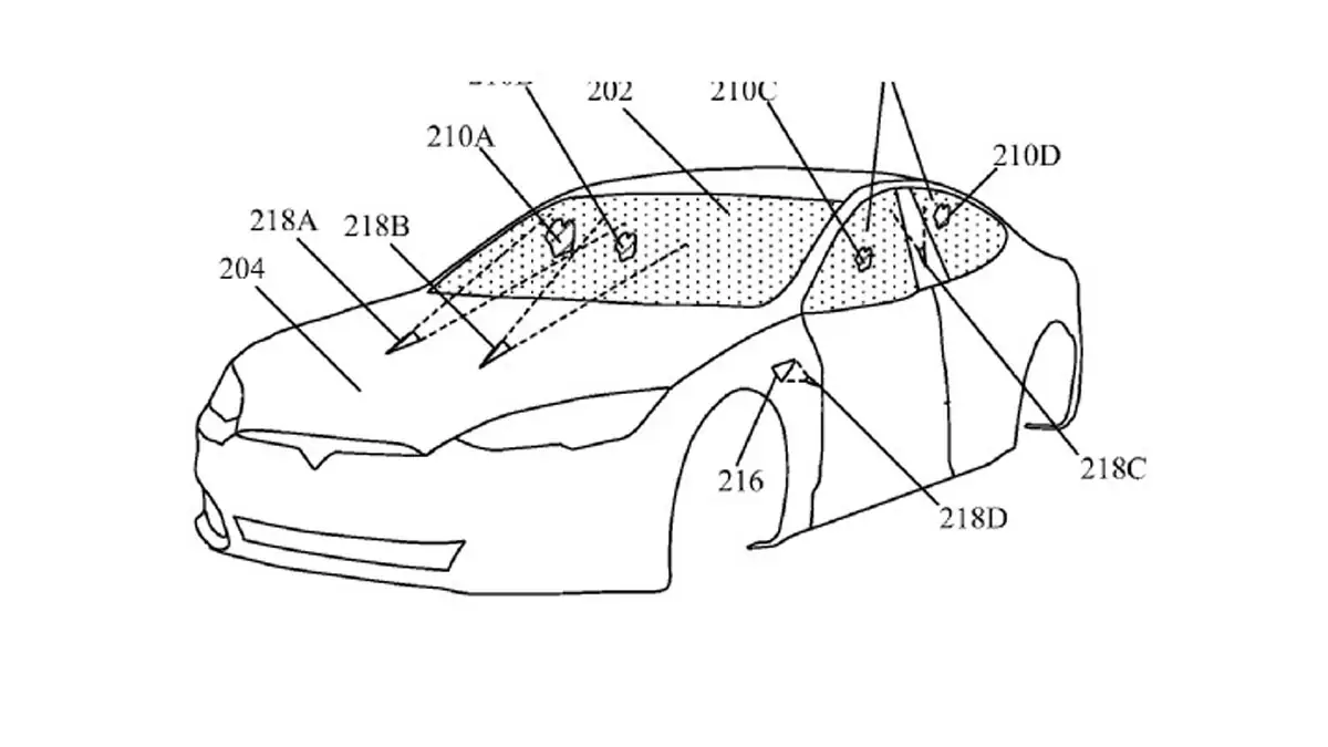
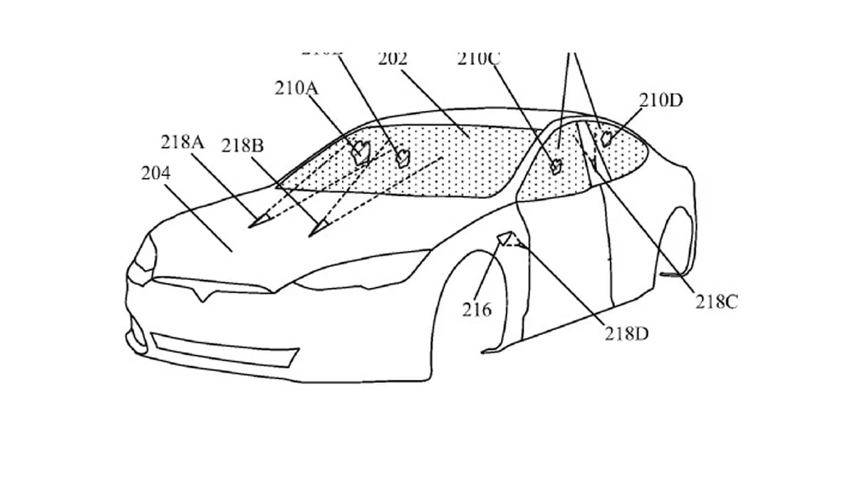
Schematische Zeichnung des Tesla Model S im Patent

Bei der Präsentation hat man schon gesehen, dass das neue Fahrzeug von Tesla weder einen Scheibenwischer noch Rückspiegel hat. Das deutet darauf hin, dass Tesla Alternativen am Start hat und neue Technologien einsetzen wird. Bei den Rückspiegeln könnte man Kameras einsetzen, ähnlich wie es bereits Audi in einigen Modellen macht.
Bei den Scheibenwischern könnte das Patent "Pulsed Laser Cleaning of Debris Accumulated on Glass Articles in Vehicles and Photovoltaic Assemblies" die Antwort liefern. Im Patent sieht man eine Zeichnung des Tesla Model S. Es ist zu erkennen, dass da, wo normalerweise die Scheibenwischer sind, sich Laser befinden. Vor allem für die Sensoren und Kameras die zum Beispiel für das autonome Fahren verwendet werden, könnte diese Technologie von großem Vorteil sein. So sind die Sensoren und Kameras immer frei von Schmutz und können zuverlässig funktionieren.
Wir dürfen gespannt sein, was sich Tesla bei dem Patent gedacht hat.
